Фотогалерея мыслей
  • Разделы
    • Фотогалерея мыслей

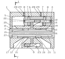
Технические детали: аксиально поршневой насос и его обозначения


Раздел: Фотогалерея мыслей
Популярные разделы:
Фотогалерея мыслей
Смотрите еще:
Модные образы в кожаных костюмах для женщин
Как создать и использовать трафареты для правильного пятиугольника
Открываем природу Нижегородской области: разнообразие флоры и фауны
Разгадываем головоломки: Задачка про Макдональдс
Воспоминания о играх: Обложка Grandia II для PS2
Творчество и стиль рэп-исполнительницы Карди Би
Права человека: Кто стоит на страже прав и свобод
Школьные фоны: вдохновение для учебы
Copyright © 2010 - 2025 | Отказ от ответственности